在實現碳中和的大目標下,碳市場建設將成為重要的抓手。我國的碳市場也將由區域碳市場試點走向全國碳市場。
建設碳市場的意義和我國的當前進展
碳排放交易權被認為是控制碳排放最有效的市場化手段之一,它可以依靠配額價格來激勵和調節碳市場,實現控制碳排放的目標。
在碳交易中,當社會制定了減排目標之后,如果企業的減排成本低于碳交易市場價格時,企業會選擇減排,而減排產生的份額甚至可以賣出進行盈利。當企業減排成本高于碳市場價格時,企業會選擇在碳市場上購買配額以完成政府規定的減排量。
碳排放交替體系通過設定碳排放配額總量和交易排放配額來實現節能減排。在碳排放交易體系中,政府和企業扮演著不同的角色。中央政府是碳市場的裁判,負責制定碳排放配額的分配方案、核查技術規范。地方政府需要對碳數據進行審定、核查和報送,并督促企業進行履約和監督清繳。納入交易體系的企業需要根據減排成本和配額價格進行減排,或者在市場購買配額,定期向政府匯報排放數據,接受核查和審定。
據生態環境部應對氣候變化司司長李高9月27日介紹,2011年以來,已有北京、上海、湖北等七省市加入試點。目前,全國共有2837家重點排放單位、1082家非履約機構和11169個自然人參與試點碳市場,覆蓋電力、鋼鐵等20多個行業。截至8月底,7個試點的配額累計成交量為4.06億噸,累計成交額超過90億元。
通過碳市場試點先行,已經為我國在"十四五"時期大力推動碳排放交易市場建設積累了經驗。全國性碳市場大概率明年投入運營,預計電力將是納入其中的首個行業。在電力行業之后,鋼鐵、水泥、化工、電解鋁等高耗能行業也將陸續加入碳市場。
全國碳市場發足,發電行業先行
十三五以來我國碳市場建設有了長足的進步。
2017年,國家發改委發布了《全國碳排放權交易市場建設方案(發電行業)》(以下簡稱《方案》),該方案的出臺標志著全國性碳市場建設的正式啟動。
其中,明確了碳市場建設的總體部署,將我國碳市場建設分為基礎建設期、模擬運行期和深化完善期三步進行。并且為不同試點地區劃分了一定的責任范圍,在上述方案中提出,湖北試點負責全國碳市場的注冊登記系統建設,上海負責建設碳交易系統,北京、天津等六個試點負責碳交易市場的系統運營和其他相關工作。
從2018至2019年,我國完成了碳市場建設的前期工作。
首先是構建和完善碳市場法律體系。2018年開始,生態環境部不斷完善《碳排放權交易管理暫行條例》,在此基礎上制定了碳排放報告管理辦法等細則。
其次是推進碳市場監測報告的核查工作。生態環境部印發的《關于做好2018 年度碳排放報告與核查及排放監測計劃制定工作的通知》,要求各省區市對2013至2018年任意一年溫室氣體排放量達2.6萬噸二氧化碳當量及以上的重點排放單位進行碳排放數據監測、報告、核查工作,范圍覆蓋電力、建材、鋼鐵、有色、石化、化工、造紙、航空行業。
最后是推進全國碳市場注冊系統、交易系統等基礎系統建設。截至2019年底,全國碳市場的基礎設施建設工作還在推進中。下一步,生態環境部會加快推進基礎能力建設,以滿足發電行業測試運行的條件。
在今年9月27日生態環境部召開的應對氣候變化政策吹風會上,生態環境部應對氣候變化司司長李高表示:"'十四五'期間要全面推進碳排放交易市場建設,發電行業已經做好了納入全國碳排放交易市場的相關準備,過去已對發電行業地方管理隊伍進行了大規模培訓,相關的政策、法規、制度配套建設也在積極推動當中,包括結算系統、交易系統檔案已經基本確定,將很快進入建設階段,在設施確定、制度明確后,經過一段時間測試,將進入上線交易階段。"
碳交易市場面臨諸多難題
1.加強碳排放數據統計
碳排放數據統計不僅是企業參與碳市場的前提條件,也是制定碳市場策略的基礎。全國碳市場從2017年啟動建設至今尚未開始運營,很大原因是碳排放數據的統計工作量繁重,對專業水平要求極高。
與氮、硫等污染氣體排放不同,二氧化碳排放并不采取實時監控,而是根據企業能耗數據核算而得。企業根據核算指南選擇計算參數,得出當年的碳排放量。目前,碳市場中的相關行業標準尚不成熟,各試點地區碳市場的基準線、計算參數不盡相同。這些都給碳排放數據統計和管理提出了挑戰。也是下一階段需要著重解決的問題。
2.提高信息公開力度
在試點地區推進碳市場建設過程中,碳市場建設的繁重還體現在體量上,僅以試點地區計算我國是全世界第二大碳交易市場,由于不同地區和交易主體差異較大,導致在不同的交易規則下,各地區形成了不同的交易模式,為全國碳市場統一管理和調配提出了難題。
在當下的試點地區,碳市場交易涉及的行業種類很多,各行業減排成本各異,部分企業引入了線上交易和線下交易相結合的方式。其中,線上交易相對公開透明,但大多為小額交易。線下交易為不公開的協議轉讓模式,這部分交易占比較大且不對外公開。導致碳市場信息不夠公開透明。
信息公開對不同地區和主體之間的市場交易策略有重大影響,而信息不透明將造成壁壘,也會導致碳排放數據統計存在簡單相加的缺陷。因此,下一階段加大減排信息的公開力度對建設全國碳市場至關重要。
3.試點地區交易體量不足、差異較大
2020年,北京、天津、上海、廣東、深圳等試點碳市場即將完成第七次履約,下面以北京、天津、上海三個試點為例,去了解我國試點碳市場的運營情況。
(1)北京
北京在2008年由政府批準設立了北京環境交易所有限公司(簡稱北京環交所),環交所掛牌以后推出了碳交易、排污權交易、低碳轉型服務等業務。目前北京環交所是國家發改委備案的首批中國自愿減碳交易機構,也是北京制訂的碳排放交易試點交易平臺。

從2020年11月20日-12月16日數據來看,交易量高點為12月4日的12533噸,存在交易體量不足和價格波動較大等特點。
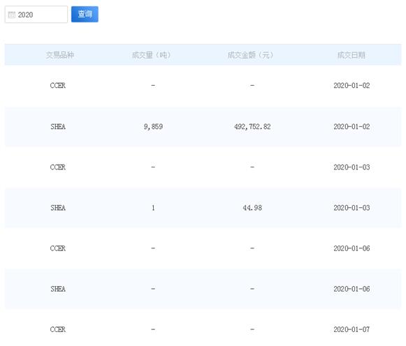
(2)上海
上海環境能源交易所于2008年8月5日揭牌成立,是上海市政府批準設立的首批能源類交易平臺,上海環境能源交易所是上海市碳交易試點的指定實施平臺,也是經國家發展改革委備案的中國核證自愿減排量交易平臺。
上海環境能源交易所業務涵蓋碳排放權交易、中國核證自愿減排量交易、碳排放遠期產品交易、排污權交易等服務。為建設資源節約型、環境友好型社會,實現經濟社會可持續發展服務。
上海碳交易品種分為現貨產品、遠期產品和創新產品,目前遠期產品和創新產品在實際交易中尚未出現。而現貨產品交替頻率和體量同樣稍顯不足,具體如下圖所示。

(3)天津
天津排放權交易所是天津試點碳排放權交易市場的指定交易平臺,是國家首批溫室氣體自愿減排交易備案交易機構之一。
天津排放權交易成立于2008年9月25日,是由中石油和天津產權交易中心共同出資建立的中國首批綜合性環境能源交易平臺。

從近一個月數據來看,天津排放權交易所碳配額線上交易量在10000-20000噸區間波動,碳價穩定保持在25元/噸左右??傮w來看,天津排放權交易所碳交易量可觀,碳價稍低。
以北京、天津、上海三個試點的數據來看,不同地區的碳市場成交價格差異較大。北京碳市場成交價格存在波動現象,價位在各碳市場最高,約為60-90元/噸不等。上海碳市場成交價格僅次于北京,約為41元/噸左右。天津碳市場成交價格比2019年有所提高,為25元/噸左右。從交易額來看,近期北京等試點地區碳交易基本維持在幾十萬元水平,沒有出現單筆超過一千萬元以上的大額交易。
結 語
今年9月,我國提出了2030年碳達峰和2060年碳中和目標,預計"十四五"期間火電、化工、鋼鐵、水泥等產業將會納入全國碳市場。因此盡快建立完善的全國性碳市場,對我國盡早實現碳達峰和碳中和目標意義重大。
當前,全國性碳市場即將投入運營,面對試點碳市場如何擴大覆蓋范圍、豐富交易品種和提升市場活躍度等難題,還需發揮中國經驗和智慧去迎接挑戰、戰勝困難。
(張學坤 冉澤)
責任編輯: 江曉蓓